雙法蘭差壓變送器測量液位的計算公式
發布時間:2025-09-03 ???
瀏覽次數:
1概述
在工業生產過程中常常需要對工藝設備(如箱、槽、罐)內液體介質的液位進行測量和控制,通過利用
雙法蘭差壓變送器(
雙法蘭液位變送器)對這些設備的液位測量和控制可以準確觀察容器中貯藏物料的液位高度、容量;隨時知道容器內液位的高低,對液位上、下限進行報警控制,并連續對生產過程進行監控,使液位保持在工藝中所要求的液位高度。
目前測量液位的方法及儀表很多,如直測、浮力、靜壓、差壓、電容、超聲波、微波以及激光等原理測量。但是在有的工藝生產當中存在著不同的液體介質,這些液體具有腐蝕性或含有結晶顆粒,粘度大,易凝固等。為了解決導壓管線被腐蝕或被堵塞的問題,可選用
雙法蘭差壓變送器來測量液位,如上圖所示。作為敏感元件的金屬膜盒通過鎧裝毛細管與變送器的測量室相連,在膜盒、鎧裝毛細管和測量室所組成的封閉系統內充有密封液體(一般為硅油)作為傳壓介質。為使毛細管經久耐用,其外部均套有金屬蛇皮管保護。
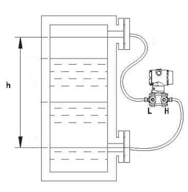
2雙法蘭差壓變送器在液位測量中的安裝及測量技術公式
雙法蘭差壓變送器可安裝在任何高度和位置。但是用于真空場合變送器的安裝位置不能高于低壓室法蘭的水平線。在液位測量中雙法蘭差壓變送器通常用于密閉容器,高壓室法蘭用來消除容器內壓力(或真空)變化的影響,低壓室法蘭用來測量容器內液體的液位。如果用于開口容器,則高壓室法蘭應與容器低端法蘭相接,而低壓室法蘭應置于大氣中,并保持與高壓室法蘭同樣高度。
1)變送器安裝在開口容器低端法蘭水平線以下,如下圖:

如圖所示,高壓室法蘭與容器低端法蘭相接,而低壓室法蘭安裝在與高壓室法蘭同一水平線上的大氣中。那么變送器量程為L=H·ρ
零點遷移量為A=h1·ρ1-h2·ρ2
最低測量液位時,作用于變送器上的等效靜壓差為△P1=h1·ρ1-h2*ρ2=A.
最高測量液位時,作用于變送器上的等效靜壓差為△P2=(H+h1)·ρ1-h2*ρ2=H·ρ1+A
式中h2一變送器正、負壓室中心線到容器低端法蘭中心線之間的高度。ρ2一變送器鎧裝毛細管內液體的密度。變送器校驗范圍為△P=△P1~△P2=A~H·ρ1+A
對應于變送器的輸出(若變送器為正作用)為4~20mA.DC。
2)變送器安裝在密閉容器低端法蘭水平線以上
高壓室法蘭與容器高端法蘭相接,低壓室法蘭與容器低端法蘭相接。為避免變送器在測量過程中出現盲區應滿足下列條件:H1-ρ1≥h2·ρ2
變送器量程為L=:H·ρ1
零點遷移量為A=(h3-h2)·ρ2-(h1·ρ1-h2·ρ2)=h3ρ2-h·ρ1
最低測量液位時,作用于變送器上的等效靜壓差為△P2=(h3-h2)·ρ2-(h1·ρ1-h2·ρ2r)=A
最高測量液位時,作用于變送器上的等效靜壓差為△P2=(h3-h2)·ρ2-[(h1+H)·ρ1-h2·ρ2]=A-H·ρ1
變送器校驗范圍為△P=△P1~△P2=A~A-H·ρ1
對應于變送器的輸出(若變送器為反作用)為4~20mA.DC。
對于上述四種情況,如果變送器的高、低壓室法蘭的安裝位置互換,可以進行同樣的分析計算,而零點遷移由正遷移變為負遷移。